Vi har i tidigare lektioner sett att magnetfält rent allmänt skapas av laddningar i rörelse, dvs av det vi kallar ström, och vi tittade särskilt på det magnetfält som bildas runt en rak, strömförande ledare. Eftersom en strömförande ledare alstrar ett magnetfält kring sig kommer den att ha magnetiska egenskaper. Det innebär att om vi placerar en strömförande ledare i ett annat, ”yttre” magnetfält kommer den, precis som en magnet, att påverkas av en magnetisk kraft.
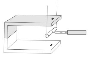
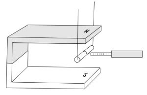
Vi placerar en rak strömförande ledare mellan bladen på en hästskomagnet, dvs i ett yttre homogent magnetfält, enligt figuren nedan. Det yttre magnetfältets riktning är ut från nordpolen in till sydpolen. Det är markerat med en grön pil. Ledaren, och därmed strömmens riktning, är vinkelrät mot magnetfältets riktning och markeras med en blå pil. Det visar sig då att den magnetiska kraft $F_m$Fm som ledaren påverkas av är vinkelrät mot både fältets och strömmens riktning, och kommer i figuren vara riktad horisontellt utåt enligt den röda pilen.

Den magnetiska kraftens riktning
För att hålla koll på dessa riktningar kan vi använda ytterligare en så kallad högerhandsregel. Precis som tidigare sätts högerhandens tumme i strömriktningen och de övriga högerhandsfingrarna i magnetfältets riktning. Den magnetiska kraften på ledaren är då riktad ut från handflatan (som att du skulle trycka på något med handflatan). Eftersom dessa tre riktningar är vinkelräta mot varandra är det viktigt att handens fingrar är utsträckta och bildar en rät vinkel mot tummen.

Den magnetiska kraftens storlek
Kraftens storlek är proportionell mot strömmen $I$I i ledaren samt mot det yttre magnetfältets styrka $B$B. Detta gäller endast om magnetfältet och ledaren är vinkelräta, annars måste den vinkelräta komposanten $B_{\perp}$B⊥ användas. Vi skriver detta samband som:
$F_m=B_{\perp}Il$Fm=B⊥Il (kallas ibland BIL-formeln)
Detta innebär alltså att om strömmens riktning och magnetfältets riktning inte är vinkelräta från början måste vi komposantuppdela flödestätheten och endast räkna med den vinkelräta komposanten. $l$l betecknar längden av ledaren som befinner sig i det yttre magnetfältet.
Rita magnetfält
Vi vet sedan tidigare att man kan illustrera strömriktningen i en strömförande ledare på det här sättet:

Vi kan på liknande sätt illustrera riktningen hos ett magnetfält genom att rita kryss (riktning in i pappret) eller prickar (riktning ut ur pappret).

Exempel 1
En elektrisk ledare befinner sig i ett magnetfält enligt figuren. Då en ström går genom ledaren påverkas den av en magnetisk kraft. Bestäm kraftens storlek och riktning.

Lösning
Vi använder högerhandsregeln för att få kraftens riktning. Magnetfältet går ut ur papprets plan mot oss så vi tänker oss att vi riktar högra handens fingrar i den riktningen. Tummen ska peka i strömmens riktning, dvs åt höger i figuren. Detta gör att handflatan är riktad nedåt i figuren, och ledaren påverkas således av en kraft nedåt.
För att bestämma kraftens storlek använder vi sambandet för magnetisk kraft på en ledare i ett magnetfält:
$F_m=B_{\perp}Il=20\cdot10^{-3}\cdot2,3\cdot0,10=0,0046$Fm=B⊥Il=20·10−3·2,3·0,10=0,0046 N
Svar: Kraften är $4,6$4,6 mN, riktad rakt nedåt i figuren.
Exempel 2
En strömförande ledare befinner sig i ett magnetfält med flödestätheten $22$22 mT och längden $14$14 cm enligt figuren. Strömstyrkan är $3,2$3,2 A. Ledaren påverkas därmed av en magnetisk kraft. Hur stor är denna kraft, och hur är den riktad?

Lösning
Det är bara den komposant av magnetfältet som är vinkelrät mot strömriktningen som bidrar till kraften. Vi måste alltså komposantuppdela magnetfältet i en komposant vinkelrät mot strömriktningen, $B_{\perp}$B⊥, samt en komposant parallell med strömriktningen, $B_{\parallel}$B∥.

$B_{\perp}=B\cdot\sin48^{\circ}$B⊥=B·sin48∘
Vi kan nu beräkna kraften:
$F_m=B_{\perp}Il=B\cdot\sin48^{\circ}Il=$Fm=B⊥Il=B·sin48∘Il= $22\cdot10^{-3}\cdot\sin48^{\circ}\cdot3,2\cdot0,14=$22·10−3·sin48∘·3,2·0,14= $0,0073…$0,0073… N
För att bestämma kraftens riktning använder vi högerhandsregeln. Eftersom det är den vinkelräta komposanten av magnetfältet, $B_{\perp}$B⊥, som bidrar till kraften sätter vi högra handens fingrar i denna riktning, dvs rakt nedåt i figuren. Tummen sätts i strömriktningen. Detta ger att handflatan, och därmed kraften, är riktad rakt in i pappret.
Svar: Kraften är $7,3$7,3 mN riktad rakt in i papprets plan i figuren.
Kommentarer
██████████████████████████
████████████████████████████████████████████████████
e-uppgifter (5)
-
1. Premium
Figuren visar en strömförande ledare som befinner sig i ett homogent magnetfält. Bestäm riktningen på den magnetiska kraft som ledaren påverkas av.
Bedömningsanvisningar/Manuell rättningRätta själv Klicka i rutorna och bedöm ditt svar.-
-
Rättad
-
+1
-
Rättad
Rättar... -
2. Premium
Figuren visar en strömförande ledare som befinner sig i ett homogent magnetfält. Bestäm riktningen på den magnetiska kraft som ledaren påverkas av.
Bedömningsanvisningar/Manuell rättningRätta själv Klicka i rutorna och bedöm ditt svar.-
-
Rättad
-
+1
-
Rättad
Rättar... -
3. Premium
Genom en rak ledare går strömmen $I=2,2\text{ }A$I=2,2 A . Ledaren befinner sig i ett $4,2\text{ }$4,2 cm långt magnetfält med den magnetisk fältstyrkan $B=25\text{ }$B=25 mT. Ledaren är vinkelrät mot flödeslinjerna enligt figuren.
Bestäm storleken på den magnetiska kraft som påverkar ledaren. Svara med enheten mN.
Svar:π²Ditt svar:Rätt svar:(Korrekta varianter)Ger rätt svar {[{correctAnswer}]}Bedömningsanvisningar/Manuell rättningRätta själv Klicka i rutorna och bedöm ditt svar.-
-
Rättad
-
+1
-
Rättad
Rättar...Din skolas prenumeration har gått ut!Din skolas prenumeration har gått ut!4. Premium
En kopparstav med längden $3,0$3,0 cm är upphängd i två tunna koppartrådar så att den hänger i gapet till en permanentmagnet. Om en ström med styrkan $5,0$5,0 A sänds genom kopparstaven kan denna hållas i sitt läge med hjälp av en dynamometer som då visar $0,12$0,12 N.
Beräkna den magnetiska flödestätheten.

Provuppgift från tidigare kursprov (Skolverket)
Svar:π²Ditt svar:Rätt svar:(Korrekta varianter)Ger rätt svar {[{correctAnswer}]}Bedömningsanvisningar/Manuell rättningRätta själv Klicka i rutorna och bedöm ditt svar.-
-
Rättad
-
+1
-
Rättad
Rättar...5. Premium
Vi utgår från samma situation som i föregående uppgift: En kopparstav är upphängd i två tunna koppartrådar i gapet till en permanentmagnet. När en viss ström sänds genom kopparstaven hålls den kvar i sitt ursprungliga läge med hjälp av en dynamometer, som då visar $0,12$0,12 N.
Ange riktningarna för strömmen, magnetfältet och den magnetiska kraften i figuren nedan.

Provuppgift från tidigare kursprov (Skolverket)
Svar:π²Ditt svar:Rätt svar:(Korrekta varianter)Ger rätt svar {[{correctAnswer}]}Bedömningsanvisningar/Manuell rättningRätta själv Klicka i rutorna och bedöm ditt svar.-
-
Rättad
-
+1
-
Rättad
Rättar...c-uppgifter (2)
-
6. Premium
En strömförande ledare befinner sig i ett magnetfält med flödestätheten $18$18 mT och längden $9,0$9,0 cm enligt figuren. Strömstyrkan är $2,5$2,5 A och riktningen är markerad med en pil. Ledaren påverkas därmed av en magnetisk kraft. Hur stor är denna kraft och hur är den riktad?
Bedömningsanvisningar/Manuell rättningRätta själv Klicka i rutorna och bedöm ditt svar.-
-
Rättad
-
+1
-
Rättad
Rättar... -
7. Premium
Två parallella ledare med längden $75$75 cm placeras på avståndet $2,8$2,8 cm från varandra. Ström sänds åt samma håll genom respektive ledare. Med hur stor kraft påverkar då ledarna varandra? Svara med enheten μN (mikronewton).
Svar:π²Ditt svar:Rätt svar:(Korrekta varianter)Ger rätt svar {[{correctAnswer}]}Bedömningsanvisningar/Manuell rättningRätta själv Klicka i rutorna och bedöm ditt svar.-
-
Rättad
-
+1
-
Rättad
Rättar...a-uppgifter (1)
-
8. Premium
Fyra likadana stavmagneter är symmetriskt placerade kring en strömförande ledare, enligt figuren. Ledaren påverkas då av en magnetisk kraft. Bestäm kraftens riktning.
Svar:π²Ditt svar:Rätt svar:(Korrekta varianter)Ger rätt svar {[{correctAnswer}]}Bedömningsanvisningar/Manuell rättningRätta själv Klicka i rutorna och bedöm ditt svar.-
-
Rättad
-
+1
-
Rättad
Rättar... -
-
Din skolas prenumeration har gått ut!Din skolas prenumeration har gått ut! -
Det finns inga befintliga prov.
-
{[{ test.title }]}
●
Lektion
Kategori
ID
Test i 7 dagar för 9 kr.
Det finns många olika varianter av Lorem Ipsum, men majoriteten av dessa har ändrats på någotvis. Antingen med inslag av humor, eller med inlägg av ord som knappast ser trovärdiga ut.
Logga in
viaAll svar raderas. Detta går inte att ångra detta.
Endast Premium-användare kan kommentera.